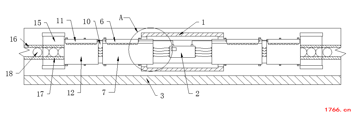
1.一种具有多霍尔传感器的直线电机装置,包括保护块(1)、电路控制器(2)、保护壳(3)和钢珠(18),其特征在于:所述保护块(1)内部设有电路控制器(2);且保护块(1)左侧与第一电机本体(7)进行连接,并且第一电机本体(7)顶部设有第一传感器本体(6),且第一电机本体(7)外部右侧设有第一线圈(8),并且第一电机本体(7)左侧设有第一加强圈(9),且第一电机本体(7)通过连接块(10)与第二电机本体(12)进行连接,且第二电机本体(12)顶部设有第二传感器本体(11),并且第二电机本体(12)外部设有第二线圈(13),且第二电机本体(12)外部左侧设有第二加强圈(14),且第二电机本体(12)与固定块(15)进行连接,固定块(15)前后两侧设有滑块(17),且滑块(17)与钢珠(18)构成滑动连接,并且钢珠(18)镶嵌在滑道(16)内,且滑道(16)与钢珠(18)构成滑动连接,且滑道(16)与保护壳(3)进行连接。
2.根据权利要求1所述的具有多霍尔传感器的直线电机装置,其特征在于:所述电路控制器(2)通过第一线路(4)与第一电机本体(7)进行连接,且连接块(10)中的第一线路(4)两侧连接第一电机本体((7)和第二电机本体(12)。
3.根据权利要求1所述的具有多霍尔传感器的直线电机装置,其特征在于:所述电路控制器(2)通过第二线路(5)和第一传感器本体(6)进行连接,且第一传感器本体(6)通过第二线路(5)与第二传感器本体(11)进行连接。
4.根据权利要求1所述的具有多霍尔传感器的直线电机装置,其特征在于:所述固定块(15)的顶部和底板设有一块隔板,且固定块(15)为长方形。
5.根据权利要求1所述的具有多霍尔传感器的直线电机装置,其特征在于:所述保护壳(3)顶部为没有设置盖板,且保护壳(3)底部设有一块防护板。
6.根据权利要求1所述的具有多霍尔传感器的直线电机装置,其特征在于:所述保护壳(3)前后两侧都设有防护隔板。
附图说明
图1为本实用新型的正视剖面结构示意图;
图2为本实用新型的俯视剖面结构示意图;
图3为本实用新型的主体正视结构示意图;
图4为本实用新型结构的图1的A处放大示意图。
图中:1、保护块;2、电路控制器;3、保护壳;4、第一线路;5、第二线路;6、第一传感器本体;7、第一电机本体;8、第一线圈;9、第一加强圈;10、连接块;11、第二传感器本体;12、第二电机本体;13、第二线圈;14、第二加强圈;15、固定块;16、滑道;17、滑块;18、钢珠。
具体实施方式
下面将结合本实用新型实施例中的附图,对本实用新型实施例中的技术方案进行清楚、完整地描述,显然,所描述的实施例仅仅是本实用新型一部分实施例,而不是全部的实施例。基于本实用新型中的实施例,本领域普通技术人员在没有做出创造性劳动前提下所获得的所有其他实施例,都属于本实用新型保护的范围。
请参阅图1-4,本实用新型提供一种技术方案:一种具有多霍尔传感器的直线电机装置,包括保护块1、电路控制器2、保护壳3和钢珠18,保护块1内部设有电路控制器2;且保护块1左侧与第一电机本体7进行连接,并且第一电机本体7顶部设有第一传感器本体6,且第一电机本体7外部右侧设有第一线圈8,并且第一电机本体7左侧设有第一加强圈9,且第一电机本体7通过连接块10与第二电机本体12进行连接,且第二电机本体12顶部设有第二传感器本体11,并且第二电机本体12外部设有第二线圈13,且第二电机本体12外部左侧设有第二加强圈14,且第二电机本体12与固定块15进行连接,固定块15前后两侧设有滑块17,且滑块17与钢珠18构成滑动连接,并且钢珠18镶嵌在滑道16内,且滑道16与钢珠18构成滑动连接,且滑道16与保护壳3进行连接;在使用时,第一传感器本体6和第二传感器本体11会将信号从第二线路5传输至电路控制器2中,随后电路控制器2便会通过第一线路4使第一电机本体7和第二电机本体12启动,这是第一电机本体7和第二电机本体12便会带动固定块15前后两侧的滑块17在滑道16里进行移动;且在使用的过程中第一线圈8、第二线圈13、第一加强圈9和第二加强圈14会使得第一传感器本体6和第二传感器本体11的信号增强,从而更好的接收信号;
电路控制器2通过第一线路4与第一电机本体7进行连接,且连接块10中的第一线路4两侧连接第一电机本体7和第二电机本体12;电路控制器2通过第二线路5和第一传感器本体6进行连接,且第一传感器本体6通过第二线路5与第二传感器本体11进行连接;固定块15的顶部和底板设有一块隔板,且固定块15为长方形;保护壳3顶部为没有设置盖板,且保护壳3底部设有一块防护板;保护壳3前后两侧都设有防护隔板;在该设备在使用时,连接块10和保护块1会对第一线路4和第二线路5进行保护,从而使该设备在运行时不会对第一线路4和第二线路5造成损伤。
工作原理:在使用该具有多霍尔传感器的直线电机装置时,第一传感器本体6和第二传感器本体11会将信号从第二线路5传输至电路控制器2中,随后电路控制器2便会通过第一线路4使第一电机本体7和第二电机本体12启动,这是第一电机本体7和第二电机本体12便会带动固定块15前后两侧的滑块17在滑道16里进行移动;且在使用的过程中第一线圈8、第二线圈13、第一加强圈9和第二加强圈14会使得第一传感器本体6和第二传感器本体11的信号增强,从而更好的接收信号;
在该设备在使用时,连接块10和保护块1会对第一线路4和第二线路5进行保护,从而使该设备在运行时不会对第一线路4和第二线路5造成损伤。
从而完成一系列工作,本说明书中未作详细描述的内容属于本领域专业技术人员公知的现有技术。
尽管参照前述实施例对本实用新型进行了详细的说明,对于本领域的技术人员来说,其依然可以对前述各实施例所记载的技术方案进行修改,或者对其中部分技术特征进行等同替换,凡在本实用新型的精神和原则之内,所作的任何修改、等同替换、改进等,均应包含在本实用新型的保护范围之内。
